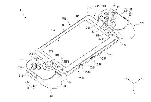
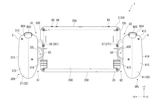
近日,國外網友找到了索尼雲遊戲掌機Project Q的早期申請的專利圖像,據悉,該專利於2015年提交,並於2017年發布。

早期專利與正式版掌機外觀存在明顯差別,專利中的手柄類似PS4手柄,正式版則延用了本世代PS5手柄的設計。此外,早期專利在螢幕下方留有耳機孔和MicroUSB充電接口。

據悉,Project Q雲掌機配備了一款8英寸高清LCD螢幕,可以高達 1080p 和 60fps 的速度運行遊戲,具有DualSense 的自適應觸發器和觸覺反饋,可通過串流的方式輕鬆遊玩PlayStation遊戲。索尼將在後續公開產品的更多詳情。
